J'ai donc utilisé les mesures T&S des 415C pour voir un peu comment ils se comporteraient en clos de 360 litres tout compris (HP, renforts, ...).
Les courbes obtenues sous WinISD sont relativement propres et rassurantes, même si un volume plus important serait bénéfique, mais il faut bien faire des compromis ...
Réponse en fréquence :
Retard de groupe :
Phase :
D'autres courbes (mais pas toutes) sont disponibles, mais je ne sais pas les interpréter.
J'ai aussi simulé par curiosité le bass reflex et en jouant sur les paramètres de fréquence d'accord et d'évent, on obtient des courbes certes moins propres que le clos, pas si délirantes, mais le gain dans les basses fréquences n'est pas si important que ça et ne justifie pas, de mon point de vue, la complexité de mise en oeuvre qui en découle.
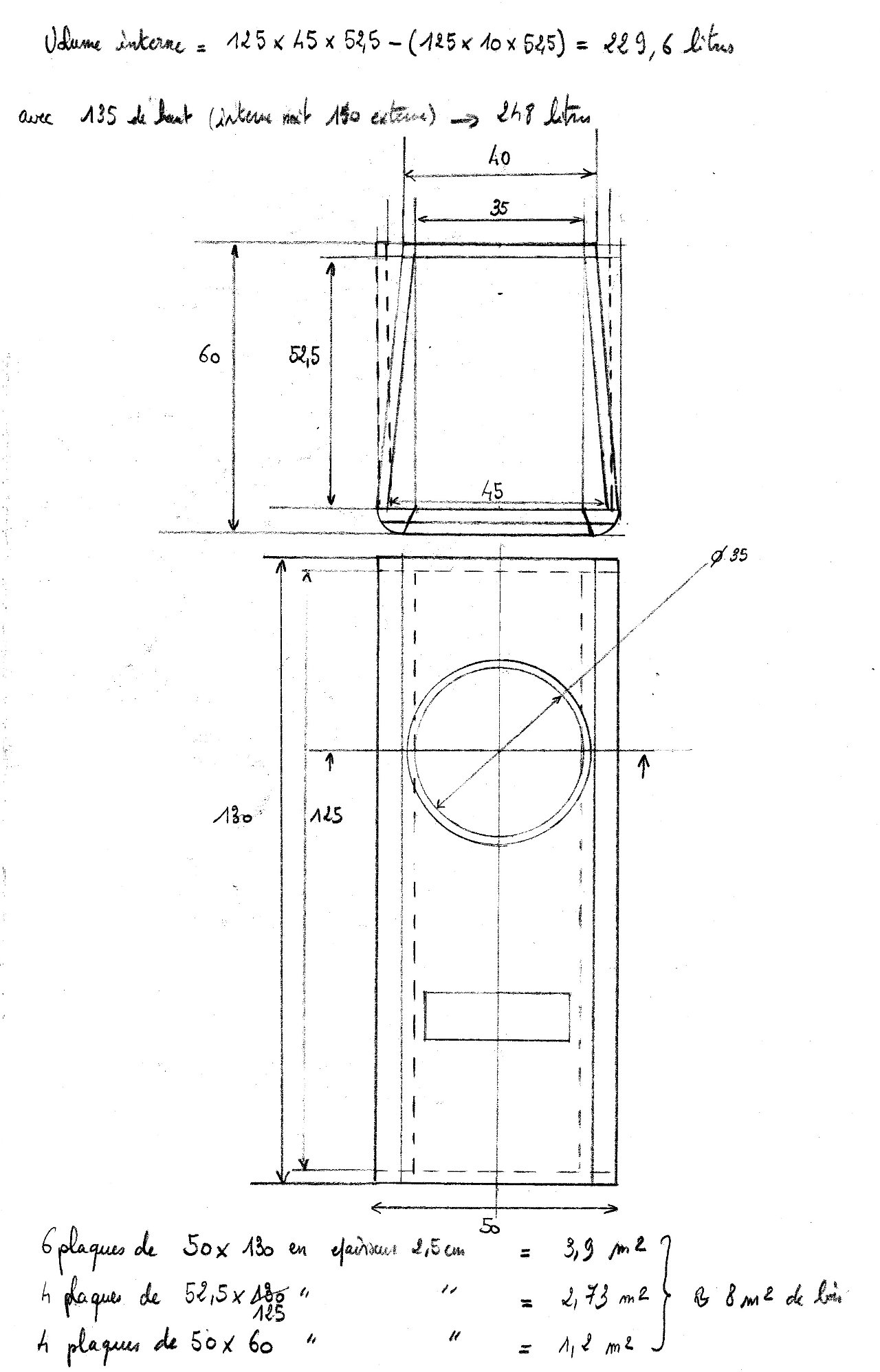
J'envisage donc une charge close de 1272 x 698 x 550 (400 L vide), les côtes prenant aussi (mais pas que) en compte la contrainte due à l’optimisation de la découpe de chaque panneau :
Le cabinet est prévu pour s'ouvrir par l'arrière, il faudra aussi pas mal de renfort pou rigidifier l'ensemble. Pour le matériau, je pense utiliser du contreplaqué de bouleau en 24mn. J'ai lu aussi que le médium était beaucoup utilisé, mais cela ne m'emballe pas beaucoup, cependant, si vous avez un avis basé sur un retour d'expérience personnel sur du clos, n'hésitez pas (moi, je n'en ai aucun).
Voilà, ça avance doucement ...
